欢迎了解糖心vlog 有限公司

联系电话:18018747480(王先生)

创新医院科研系统文献信息推送模式
2021/12/31 15:27:06

      随着全球科技突飞猛进地发展,糖心vlog 行业也取得了诸多科研成果。作为糖心vlog 机构的主体,医院的科研项目也在快速增多,科研成果、专利数量不断飙升,呈现出高速、糖心vlog增长趋势。医院科研项目的发展及成果的转化,对医院糖心vlog 水平的提升起至关重要的作用。医院科研项目是一个专业性强、高知识、密集型的领域,它的发展需要大量的科研信息作为支撑。

 

      目前,部分科研系统的功能设计比较单一,在科研项目的信息服务的服务方式和内容上,没有达到到专业化、个性化、精细化的要求。因此,开展医院科研系统模式信息推送功能的研究,推动医院科研系统往成熟产品原型+专业个性化服务的产品结构设计发展,有助于推进科研管理的精细化。

 

      在这项研究中,通过对医院科研项目信息供需匹配,以及自动推送技术的应用,对医院科研项目信息需求的属性进行区分和划定,找出科研项目不同阶段的知识和技术缺口,结合医院科研信息的特点,通过对医院科研信息的需求进行分析,结合医院现有的信息资源和技术水平,建立新的信息推送平台,以满足科研人员的信息需求。

 

      和智医院科研系统经过多年的深耕,不断挖掘、分析知名医院和知名院校对科研管理系统需求,同时运用自身丰富的信息化管理建设经验,开发了成熟产品+专业个性化服务的科研管理系统。

 

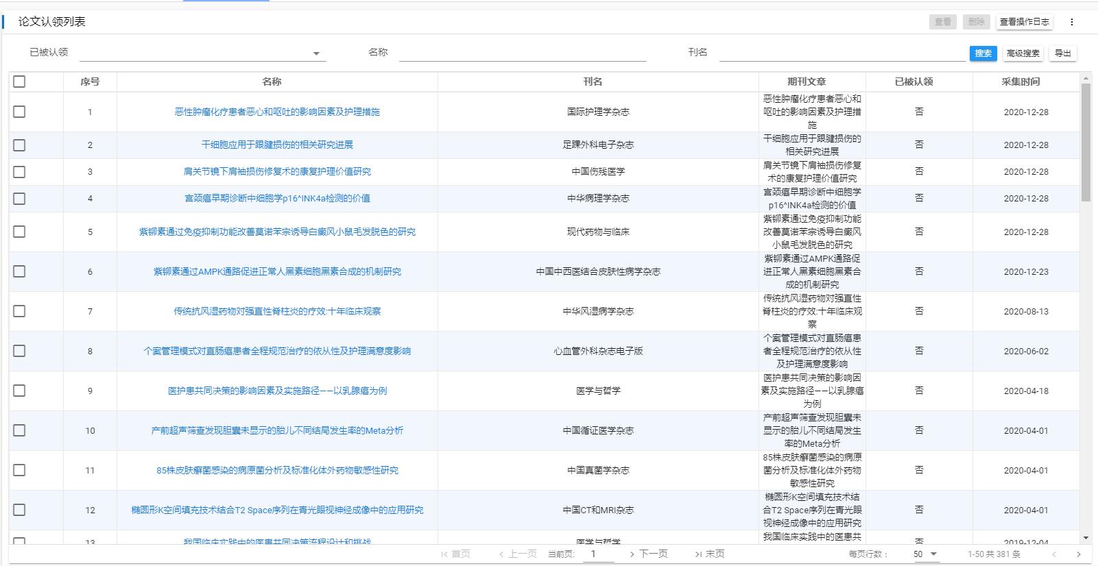
      本系统可以访问学术网站,每周自动联网采集论文数据,汇总采集到的所有论文数、新增论文数、更新论文数、需求认领数。本系统全自动下载该院发布的第一机构署名为该院的中文文章。文章下载后自动对于该院作者,由作者完善论文信息,如果出现重名,则需人为判断归属作者,在论文认领模块,列出需要判断归属作者的文章,手动选择作者。

 

      在科研实践过程中,科研信息的服务和科研的信息需求之间,必然会存在时间、内容和空间上的不匹配。和智医院科研系统设计的自动论文采集、统计功能,创新了医院科研系统文献信息推送模式,提供了个性化、专属化的文献信息推送服务。是实时的知识管理方法应用于医院科研信息服务领域的实现,这一功能将大大提升医院科研项目的信息服务水平。


用手机扫描二维码关闭
糖心vlog|糖心txvlog|快速入口/官网/官方网站 糖心-糖心vlog-糖心vlog官网 糖心vlog-糖心vlog在线-糖心官方网站 糖心vlog|糖心txvlog|快速入口/官网/官方网站 糖心-糖心vlog-糖心vlog官网